2 管道连接部件的结构型式分类(表1-2-1)
表1-2-1 管部连接部件结构型式分类
|
管部分类 |
管部结构型式 |
其中支座类的型式分解 |
图 例 |
|
水平管道管部 |
水平管道钢管夹 |
|
图1-2-1 |
|
钢管卡 |
|
图1-2-2、图1-2-3 |
|
|
水平管道钢管夹支座 |
水平管道钢管夹滑动支座 水平管道钢管夹双向滑动支座 水平管道钢管夹导向支座 水平管道钢管夹单、双向限位支座 |
图1-2-4 图1-2-5 图1-2-6 图1-2-7 |
|
|
水平管道钢横担双吊杆吊架 |
|
图1-2-8 |
|
|
水平管道焊接吊架 |
|
图1-2-9 |
|
|
水平管道焊接钢支座 |
水平管道焊接滑动支座 水平管道焊接双向滑动支座 水平管道焊接导向支座 水平管道焊接单、双向限位支座 |
图1-2-10 图1-2-11 图1-2-12 图1-2-13 |
|
|
垂直管道管部 |
垂直管道钢管夹 |
|
图1-2-14 |
|
垂直管焊接鳍形吊板 |
|
图1-2-15 |
|
|
垂直管管形耳轴吊架 |
|
图1-2-16 |
|
|
垂直管道焊接钢支座 |
垂直管道焊接滑动支座 垂直管道焊接双向滑动支座 垂直管道焊接导向支座 垂直管道焊接单、双向限位支座 |
图1-2-17 图1-2-18 图1-2-19 图1-2-20 |
|
|
弯头管部 |
弯头焊接吊架 |
|
图1-2-21 |
|
弯头焊接钢支座 |
弯头焊接滑动支座 弯头焊接双向滑动支座 弯头焊接导向支座 弯头焊接单、双向限位支座 |
图1-2-22 图1-2-23 图1-2-24 图1-2-25 |
2.1 水平管道管部
2.1.1 水平管道钢管夹(图1-2-1)

图1-2-1 水平管道钢管夹型式图
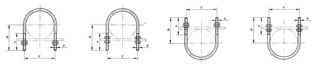
2.1.2 钢管夹(短管夹见图1-2-2,长管夹见图1-2-3)

图1-2-2 短管夹型式图

图1-2-3 长管夹型式图
2.1.3 水平管道钢管夹支座
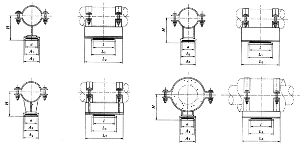
2.1.3.1 水平管道钢管夹滑动支座(图1-2-4)

图1-2-4 水平管道钢管夹滑动支座型式图
2.1.3.2 水平管道钢管夹双向滑动支座(图1-2-5)

图1-2-5 水平管道钢管夹双向滑动支座型式图
2.1.3.3 水平管道钢管夹导向支座(图1-2-6)

图1-2-6 水平管道钢管夹导向支座型式图
2.1.3.4 水平管道钢管夹单、双向限位支座(图1-2-7)

图1-2-7 水平管道钢管夹单、双向限位支座型式图
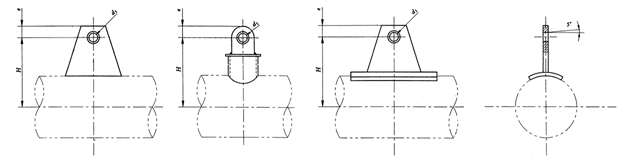
2.1.4 水平管道钢横担双吊杆吊架(图1-2-8)
图1-2-8 水平管道钢横担双吊杆吊架型式图
2.1.5 水平管道焊接吊架(图1-2-9)

图1-2-9 水平管道焊接吊架型式图
2.1.6 水平管道焊接钢支座
2.1.6.1 水平管道焊接滑动支座(图1-2-10)
2.1.6.2 水平管道焊接双向滑动支座(图1-2-11)

图1-2-10 水平管道焊接滑动支座型式图 图1-2-11 水平管道焊接双向滑动支座型式图
2.1.6.3 水平管道焊接导向支座(图1-2-12)
2.1.6.4 水平管道焊接单、双向限位支座(图1-2-13)

图1-2-12 水平管道焊接导向支座型式图 图1-2-13 水平管道焊接单、双向限位支座型式图